电话:86-0755-23229824
手机:18948346937 / 13510373651
邮箱:sales@lisenoptics.com
地址:深圳市光明区华强生态科技园四期8栋B座2单元805室
微信:
微信客服号:
抖音官方号:
iSpecLIBS-SCI LIBS光谱采集分析软件是莱森光学LIBS激光诱导光谱仪系列配套的专用分析软件,以"可视化操作+智能化分析+专业化输出"为核心,实现从样品定位、参数设置、数据采集、预处理、定量分析到结果可视化的全流程闭环;通过直观的图形用户界面(GUI)、强大的数据库支持与高级算法集成,既降低了操作门槛,又保证了分析精度,可满足科研与工业场景下的多样化分析需求。

iSpecLIBS-SCI LIBS光谱采集分析软件(专业版)

元素浓度三维Mapping立体绘图

元素平面浓度分布图

矿物识别反射高光谱谱图

图像识别矿物填图
LIBS光谱采集分析软件

LIBS光谱采集分析软件
硬件控制与采样规划可视化界面
样品实时成像窗口显示:宏观/显微双镜头切换,2448×2048彩色宏观成像+2600×2160彩色显微成像,标记与区域划分,右侧布局预览图像,支持手动选点,实时矿物纹理色差分区渲染;

采样模式快速编辑区:支持标准步点/智能步点两种模式,可自由定义扫描区域与参数,适配不同样品形态的分析需求,也可以基于宏观/微观图像在线选点;内置自动对焦与图像识别算法,可识别划分打点区域,自动完成样品分区打击与定性定量分析。


全硬件扫描配置表:本配置表对应的硬件控制模块,实现光谱仪、脉冲触发延迟发生器、三维位移联动控制台、激光器等核心设备的一体化精准协同控制,具备以下专业特性:
多维度参数全链路集中调控:支持空间维度、时序维度、激发维度的参数统一配置,可通过界面数值输入或者导入预设表实现多设备同步参数调节,避免传统分设备操作的时序偏差和只能单一配置扫描的缺陷。
自定义扫描方案全流程适配:提供“空间路径(网格/曲线/随机点)+时序逻辑(触发间隔/采集时间/循环次数)+激发工况(能量梯度)”的多维度自定义扫描功能,支持扫描任务的参数预设、方案保存与一键调用,可批量生成≥100组不同工况的扫描方案,适配“单变量控制/多变量耦合”的科研实验设计。
工况-光谱趋势的精准关联分析:通过硬件同步控制与数据标签化存储,实现“扫描工况参数”与“对应LIBS光谱数据”的一一映射,可直观呈现不同空间位置、时序条件、激发能量下的光谱特征演变趋势,为“工况对光谱信号的影响机制”等科研课题提供高一致性、可复现的实验数据支撑,是材料微区分析、元素深度分布等领域的高效科研工具。

光谱采集与预处理界面
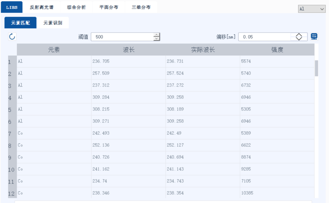
光谱曲线实时显示窗口:可同步展示原始光谱、背景校正后光谱、元素特征峰标记,支持波长范围缩放与峰值标注;软件内置原子、离子的综合数据库。借助内置的数据库,软件能够轻松识别出原子、离子的谱线。
实时光谱采集:支持LIBS、拉曼、反射高光谱等多类型光谱同步采集与保存,可预览不同样品的光谱信息;
高效数据预处理:内置滑动窗口积分斜率、惩罚最小二乘基线校正等算法,自动扣除背景噪声,确保数据纯净度与一致性;

元素-矿物识别与定量分析界面
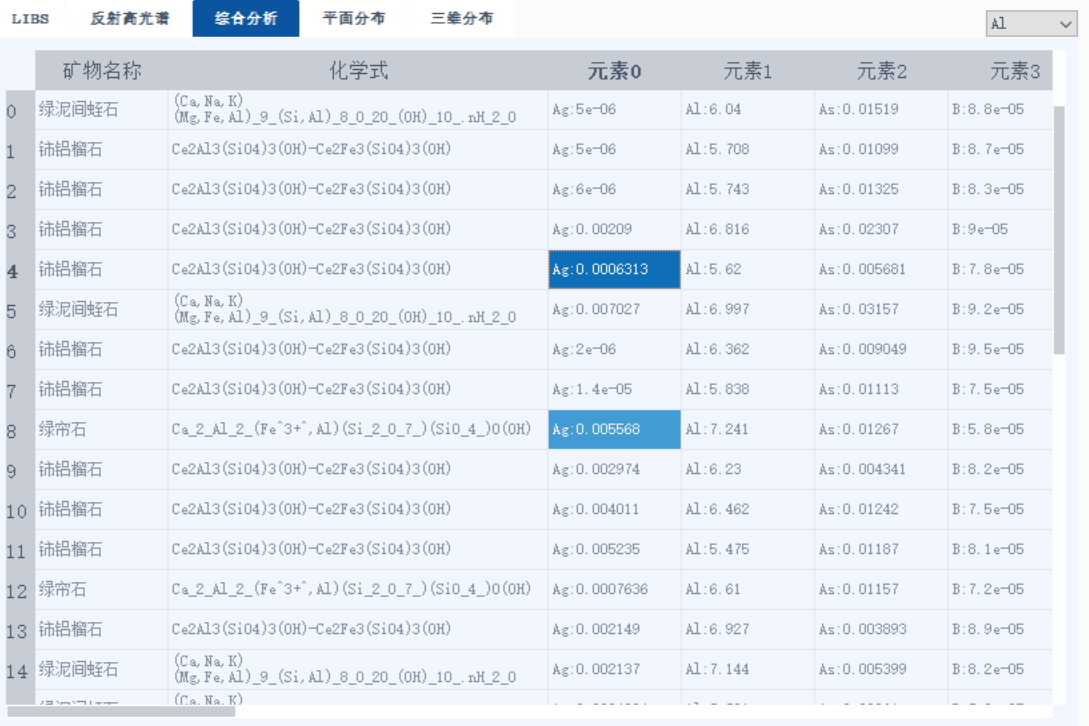
元素-地物-矿物匹配结果面板:内置LIBS结合红外光谱成像融合算法,将红外光谱成像与LIBS两种方法分别的矿物识别结果及特征通过融合算法处理实现采集区域主量矿物精准识别;主要在于两种的矿物识别结果求交集并辅助元素定量的含量占比和矿物所含基团,给出可能性最大的主量矿物;其中近红外光谱成像:通过识别矿物基团,SAM+SFF+SID与CNN+CARS算法组合,来识别矿物;而LIBS光谱,通过对元素定性、CFLIBS元素定量与标准样品机器学习,最后结合矿物摩尔量匹配的方式识别矿物,目前能够识别常用300-400种矿物和配置有3000多种矿物总数据库。


配备LIBS定量分析模型建立工具,提供峰高法、峰面积法、线性/多项式拟合、单峰/双峰比值等可视化建模工具,支持自定义建模训练与元素定标,修正模型精度;实时输出元素浓度值、不确定度、统计显著性分析结果。

数据可视化与智能分析界面
2D/3D元素分布成像窗口,支持浓度分区渲染(从红色到绿色梯度显示浓度高低);
立体数据可视化:支持元素平面分布、三维分布,直观呈现元素空间分布规律;
高级算法扩展:预留机器学习/深度学习接口,可通过模式识别与自学习机制优化校准模型,提升复杂样品分析能力;

地质专属功能:针对地质勘探场景,提供岩性识别图版、矿物丰度分布图、元素等值线图等可视化输出,基于前面采集的“原子层—离子层—表观层”三个维度的的分析结果,结合大模型人工智能蜂群,自动生成完整勘查图文报告,提供“岩性判别、蚀变分析、矿物组合”等专业结论,最终实现“岩矿精准识别—报告输出—一体化完成”的全流程闭环,完成岩心数字化解析的全链路工作。
